

LKHG5玻璃板液位計可用來直接指示密封容器中的液位高度,具有結構簡單,直觀可靠,經久耐用等優點,但容器中的介質必須是與鋼、鋼紙及石墨壓環不起腐蝕作用的。
產品結構
儀表的上下閥上裝有法蘭接頭,與容器連接構聯通器,透過玻璃板直接指示容器布什的液位,“夾套型”設有加熱或冷卻裝置。該裝置加熱時可用蒸氣,冷卻時可用循環水,這樣可以調節流動性能,夾套型接管尺寸ZG1/4內螺紋。
在上下閥內裝有鋼球,當玻璃板因意外事故破壞時,鋼球在容器壓力作用下,自動密封,防止容器內的液體繼續外流。
在儀表的上端針形閥裝有阻塞螺釘,可供放氣之用,下端針形閥也裝有阻塞螺釘。可供放空、取樣、排污、清洗。
技術數據
針形閥的自動關閉壓力 ≥0.222MPa
夾套蒸氣壓力為 ≤0.612MPa
玻璃板的急變溫差為 ≤240℃
注:我廠承接特殊規格的定貨。
LKHG5玻璃板液位計產品類型
|
名稱
|
型號
|
公稱壓力MPa
|
介質溫度℃
|
結構特征
|
(規格按上、下閥中心線間距離
|
標準號
|
||||||
|
結構形式
|
材料
|
L=304
|
L=500
|
L=800
|
L=1100
|
L=1400
|
L=1700
|
|||||
|
透光式玻璃板液位計
|
T2.5
|
2.5
|
-20~+250
|
普通型
|
I(碳鋼)
II(1Cr18Ni9Ti) |
|
△
|
△
|
△
|
△
|
△
|
HG5-1364-80
|
|
夾套型
|
I(碳鋼)
II(1Cr18Ni9Ti) |
|
△
|
△
|
△
|
△
|
△
|
|||||
|
T6.3
|
6.3
|
-20~+250
|
普通型
|
I(碳鋼)
II(1Cr18Ni9Ti) |
|
△
|
△
|
△
|
△
|
△
|
HG5-1365-80
|
|
|
夾套型
|
I(碳鋼)
II(1Cr18Ni9Ti) |
|
△
|
△
|
△
|
△
|
△
|
|||||
|
反射式玻璃板液位計
|
R4.0
|
4.0
|
-20~+250
|
普通型
|
I(碳鋼)
II(1Cr18Ni9Ti) |
|
△
|
△
|
△
|
△
|
△
|
HG5-1366-80
|
|
夾套型
|
I(碳鋼)
II(1Cr18Ni9Ti) |
|
△
|
△
|
△
|
△
|
△
|
|||||
|
R0.6
|
0.6
|
-20~+250
|
帶頸襯里
|
III(碳鋼襯里)
|
△
|
|
|
|
|
|
HG5-1367-80
|
|
|
帶頸
|
I(碳鋼)
II(1Cr18Ni9Ti) |
△
△ |
|
|
|
|
|
HG5-1368-80
|
||||
|
R
|
常壓
|
-20~+250
|
襯里
|
III(碳鋼襯里)
|
△
△ |
|
|
|
|
|
HG1369-80
|
|
|
嵌入聯接
|
I(碳鋼)
II(1Cr18Ni9Ti) |
△
△ |
|
|
|
|
|
HG5-1370-80
|
||||
|
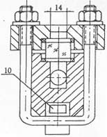
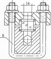
LKHG5玻璃板液位計外型尺寸圖
|
|
| 1、為了保證自動密超過計劃作用,容器內的介質壓力不得小于0.2MPa,在打開上下閥時,閥桿退出轉數不少于4轉(使鋼球封門時,不致于碰到閥桿的頂端)。 2、使用中的儀表應定期檢查。清洗玻璃板內外壁污垢,使液位顯示清晰。 3、檢修裝配玻璃板在旋緊螺栓時,要密切注意玻璃板受力不均而破碎。因此,螺栓須嚴格按圖示1、2、3┈┈┈10、11、12順序交叉地分多次夾緊玻璃板。 |
版權所有 Copyright(©)2009-2011 江蘇力科儀表有限公司
電話號碼:0517-86909222 商務熱線:15305232668 傳真:0517-86909221
地址:江蘇省金湖縣工業園
技術支持:易品網站建設專家 蘇ICP備13047422號-1